Go deeper - join us!
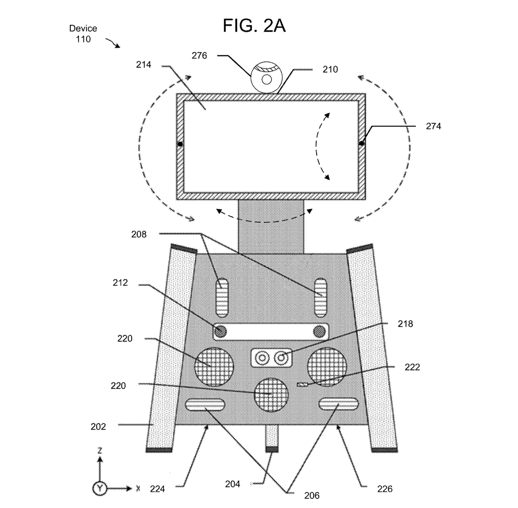
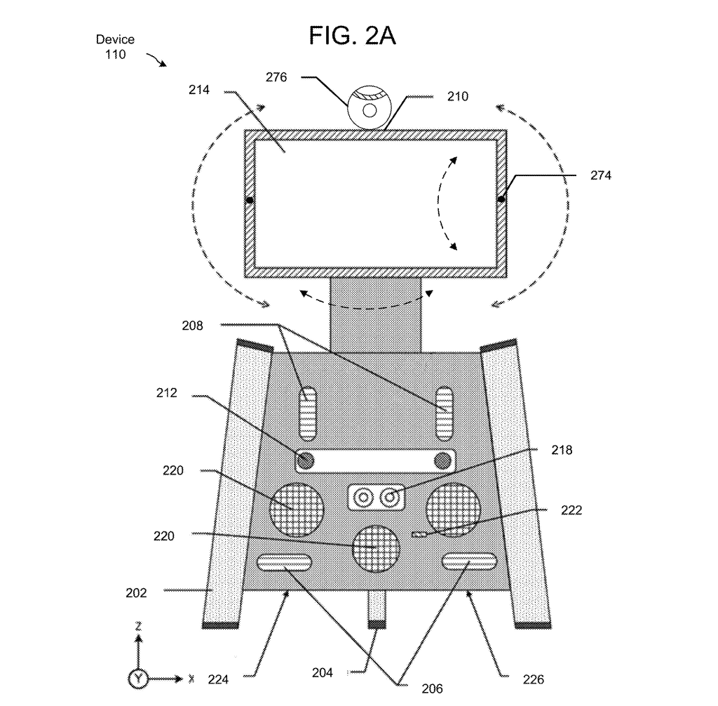
Haven’t had enough of the robot takeover? Well you’re in luck! Amazon has filed a patent request that would allow it to put a super-powered Alexa on wheels. The patent is for an autonomously motile device that learns your environment and can assist with simple tasks. Much like existing Alexa devices, the roaming robot would activate once it hears a “wakeword.” The device would be comprised of multiple microphones and speakers, as well as a display screen

According to the patent filing, reported on Patent Drop Substack by Reporter Nat Rubio-Licht, Amazon states that, “An autonomously motile device may be capable of moving or performing other actions within an environment. Speech-recognition processing, combined with natural-language understanding processing, may enable speech-based user control and output of the autonomously motile device to perform tasks based on a user’s spoken commands.”
Amazon goes on to state that the Alexa type device won’t be limited to just the examples it mentions in the patent filing documents, like playing music and telling the weather forecast. Last July, Amazon acquired iRobot, manufacturer of autonomous vacuum device Roomba, for a whopping $1.7B. It seems likely that Amazon would apply this technology in its own home roaming device, however the consumer market may be hesitant to welcome such an advanced home assistant.
After the acquisition went public, privacy advocacy groups raised concern, citing fears that Amazon may sell their personal information. iRobot co-founder and CEO Colin Angle addressed the concern via LinkedIn, stating that iRobot will always protect customer data. Even so, security breaches happen. Systems are hacked. It’s all something to consider before bringing home such an intelligent piece of technology.
While clean floors are neat, we are eager to see what else may come from this development. We wonder if we might see the robot take other commands, such as “check the timer on the oven” or “did I remember to unplug my curling iron?” Though the patent drawings do not seem to show robotic arms, we predict that we may see this device evolving into one that is able to handle mechanical tasks, such as holding small objects and closing doors.




